产品分类/Products
开云足球
热电阻和热点偶温度传感器校验实验装置 > 开云足球 >热电偶、热电阻自动校验装置
2025年4月16日

热电阻和热点偶温度传感器校验实验装置,热电偶、热电阻自动校验装置

SBJYD-R6热电阻和热点偶温度传感器校验实验系统

 

一、概述

目前,测量温度都采用间接测量的方法。它是利用一些材料或元件的性能随温度而变化的特性,通过测量该性能参数,而得到被测温度的大小。用以测量温度特性的有:材料的热膨胀、电阻、热电动势、导磁率、介电系数、光学特性、弹性等等,其中前三者尤为成熟,获得广泛的应用。热电阻和热电偶温度传感器结构简单、易于制造和测温范围宽,因而应用最为广泛。但是热电阻和热电偶受到材料、温度、接线方式以及其他环境因素影响,从而影响了温度测量精度。为此需要进行校正。本实验台结构简单,性能可靠,适用于学生进行热工实验,也可以应用于科研及生产厂家的产品质量检验。

二、实验目的

了解热电阻和热电偶温度计的测温原理

学会热电偶温度计的制作与校正方法

了解二线制、三线制和四线制热电阻温度测量的原理

掌握电位差计的原理和使用方法

了解数据自动采集的原理

应用误差分析理论于测温结果分析。

三、实验原理

1、热电阻

(1) 热电阻原理

热电阻是中低温区最常用的一种温度检测器。它的主要特点是测量精度高,性能稳定。其中铂热是阻的测量精确度是最高的,它不仅广泛应用于工业测温,而且被制成标准的基准仪。热电阻测温是基于金属导体的电阻值随温度的增加而增加这一特性来进行温度测量的。热电阻大都由纯金属材料制成,目前应用最多的是铂和铜,此外,现在已开始采用镍、锰和铑等材料制造热电阻。常用铂电阻和铜电阻,铂电阻在0-630.74℃以内,电阻Rt与温度t的关系为:Rt=R0(1+At+Bt2)R0系温度为0℃时的电阻,铂电阻内部引线方式有两线制,三线制,和四线制三种,两线制中引线电阻对测量的影响最大,用于测温精度不高的场合,三线制可以减小热电阻与测量仪之间连接导线的电阻因环境温度变化所引起的测量误差。四线制可以完全消除引线电阻对测量的影响,用与高精度温度检测。本实验是三线制连接,其中一端接二根引线主要是消除引线电阻对测量的影响。

(2) 热电阻的校验

热电阻的校验一般在实验室中进行,除标准铂电阻温度计需要作三定点,(水三相点,水沸点和锌凝固点)校验外,实验室和工业用的铂或铜电阻温度计的校验方法有采用比较法两种校验方法。比较法是将标准水银温度计或标准铂电阻温度计与被校电阻温度计一起插入恒温水浴中,在需要的或规定的几个稳定温度下读取标准温度计和被校验温度计的示值并进行比较,其偏差不超过最大允许偏差。在校验时使用的恒温器有冰点槽,恒温水槽和恒温油槽,根据所校验的温度范围选取恒温器。比较法虽然可用调整恒温器温度的方法对温度计刻度值逐个进行比较校验,但所用的恒温器规格多,一般实验室多不具备。因此,工业电阻温度计可用两点法进行校验,即只校验R0R100/ R0两个参数。这种校验方法只需要有冰点槽和水沸点槽,分别在这两个恒温槽中测得被校验电阻温度计的电阻R0 R100,然后检查R0 值和R100/R0 的比值是否满足规定的技术数据指标,以确定温度计是否合格。

(3) 热电阻的类型

1)普通型热电阻。从热电阻的测温原理可知,被测温度的变化是直接通过热电阻阻值的变化来测量的,因此,热电阻体的引出线等各种导线电阻的变化会给温度测量带来影响。

2)铠装热电阻。铠装热电阻是由感温元件(电阻体)、引线、绝缘材料、不锈钢套管组合而成的坚实体,它的外径一般为φ2--φ8mm。与普通型热电阻相比,它有下列优点:体积小,内部无空气隙,热惯性上,测量滞后小;机械性能好、耐振,抗冲击;能弯曲,便于安装使用寿命长。

3)端面热电阻。端面热电阻感温元件由特殊处理的电阻丝材绕制,紧贴在温度计端面。它与一般轴向热电阻相比,能更正确和快速地反映被测端面的实际温度,适用于测量轴瓦和其他机件的端面温度。

4)隔爆型热电阻。隔爆型热电阻通过特殊结构的接线盒,把其外壳内部爆炸性混合气体因受到火花或电弧等影响而发生的爆炸局限在接线盒内,生产现场不会引超爆炸。隔爆型热电阻可用于Bla--B3c级区内具有爆炸危险场所的温度测量。

2、热电偶

(1) 热电偶原理

将两种不同材质的金属导线连接成闭合回路,如果两接点的温度不同,由于金属的热电效应,在回路中就会产生一个与温差有关的电动势,称为温差电势。在回路中串接一毫伏表,就能粗略地测出温差电势值。

如图1

1 热电偶原理

温差电势的大小只与两个接点的温差有关,与导线的长短粗细和导线本身的温度分布无关。这样一对导线的组合就称热电偶温度计。简称热电偶。

实验表明,在一定温度范围,温差电势E与两接点的温度T0, T存在着函数关系E=F(T0 , T), 如果一个接点T0(通常指冷端)的温度保持不变,则温差电势就只与另一个接点T(通常指热端)的温度有关,即E=F(T) ,当测得温差电势后,即可求出另一个接点(热端)的温度。

 (2) 热电偶的标定

将热电偶做为温度计,必须先将热电偶的温差电势与温度值T之间的关系进行标定。一般不用内插式计算,而是用实验方法,用表格或T-E(或E-T)特性曲线形式表示。标定方法,一般采用:

1)固定点法,即测量已知沸点或熔点温度的标准物质在沸点或熔点时的温差电势值。

2)标准热电偶法,将待标热电偶与标准热电偶一起置于恒温介质中,逐点改变恒温介质的温度,待热电偶处于热平衡状态下测出每一点的温差电势。热电偶的T-E特性曲线如下图3

3 热电偶T-E 特性曲线

(3) 热电偶的分类

热电偶的种类繁多,各有其优缺点。可根据不同的用途选择不同型号的热电偶。目前我国已经标准化的常用商品热电偶,有以下几种

热电偶分类

型号

新分度号

旧分度号

使用温度0C

长期

短期

-康铜

/

J

TK

400

800

镍铬-镍硅

WREU

K

EU-2

1000

1300

-康铜

WRCK

T

CK

600

800

四、实验装置

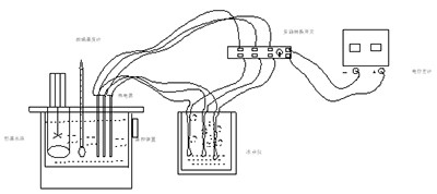
热电偶实验装置主要由恒温水浴、电位差计、热电偶、热电阻、冰点仪、数据采集装置、低电势转换开关和标准玻璃温度计等组成。恒温水浴上具有搅拌、加热与温度控制装置,可根据要求将温度稳定在设定值附近。采用标准玻璃温度计测量的温度作为标准温度,用于校准热电偶和热电阻。

4 热电偶采集与校验原理图

5热电阻自动采集与校验装置图

五、试验台功能

对热电阻和热电偶温度计进行标定和校准。

热电阻接线方式可以采用二线制、三线制和四线制热电阻接线。

热电偶KJT三种,电动势可以采用电位差计手动测量,也可以通过计算机自动测量。

每次可进行多个热电偶或者热电阻测量。

对于自动测试系统,采集通过计算机数据自动处理,可以多画面显示测量结果,自动进行分析。

六、试验台特点与技术指标

具有手动与自动测试功能,测试过程具有直观、快速、准确、方便;

系统采用恒温水浴,温度波动度小于±0.5℃,温度测量范围为0-100℃

对于自动测试,数据采集装置采用高精度采集卡。

检定结果不确定度:热电偶:小于0.2℃;热电阻:小于0.05℃

传感器与检测技术实训平台

传感器与智能控制技术实训台(含视觉、工业RFID)

电力系统传感器与检测技术实训系统

检测与传感检测技术实训装置

传感器与检测技术试验台

传感器应用技术实训考核设备

传感器检测技术实训平台

传感器与检测技术实训装置

检测与传感检测技术实训装置

传感器综合实训装置

智能工业传感器检测及控制实训台(含视觉)

工业传感器检测及控制实训台

工业传感器应用与检测综合实训台

传感器技术实训室,传感器技术实训台,传感器技术实训装置

创新型测控传感器技术综合实验实训装置

传感器与检测技术实验台(37种传感器)

传感与检测实训装置

传感器综合实验系统(22种传感器技术实验箱)

检测与转换传感器技术实验仪(20种传感器)

传感器系统综合实训装置

传感器技术实训装置

传感器应用技术实验设备

传感器应用技术实训考核设备

传感器综合实验设备

传感器与检测技术实训装置

传感器系统实验仪

传感器与检测技术实验台

传感器技术实验箱

增强型型检测与转换(传感器)技术实验装置

压力传感器标定实验系统

热电阻和热点偶温度传感器校验实验系统

单片机传感器综合实验实训平台

液体流量仪表标定实验系统

压力控制测量实验装置

液位流量控制实验装置

气动薄膜控制阀与电气安装阀门定位调校实训置

检测与转换(传感器)技术实验17种箱

传感器与检测技术实训装置

创新型测控/传感器技术综合实验实训平台

流量控制测量装置

智能温度控制实训装置,自动温度测控实验装置

多媒体工程制图设计实验室设备

多功能升降式实用绘图桌

工程制图实验室设备

建筑工程制图实训室-土木工程实训室

钳工技能实训平台(六工位)

六角钳工技能实训台

钳工技能实训考核平台

钳工职业技能等级鉴定考核装置

钳工技能实训台

焊工、铆工实操室成套设备

焊接多功能实训实验室成套设备

钳工实训室简介、钳工实训工作台

机电一体化实验室设备、教学数控车床、教学数控铣床、透明电机模型、变压器模型  更多产品>>

光机电一体化控制实训系统

机电一体化实训装置

自动生产线拆装与调试实训装置

机电一体化实训装置

工业自动化综合实训装置

煤矿自动化控制实训平台

机电一体化综合实训考核设备

自动生产线装配与调试实训装置

自动化生产线实训考核装备

光机电气一体化控制实训平台

机电一体化综合实训实验系统

机电一体化系统综合实训平台

机电一体化综合系统实训装置

数字化工业机器人柔性生产线实训平台

MES网络型模块式柔性自动化生产线实训系统

MPS模块式柔性自动化生产线实训系统(六站)

灌装自动化生产线实训装置,机电一体化技师实训考核装置

光机电一体化实训考核装置(六轴工业机器人)

工业机械手实训装置

机电一体化综合实训考核系统

机电一体化综合系统实训设备

光机电一体化实训考核装置

自动化生产线实训考核平台

自动生产线实训装置

智能控制技术实训台

自动化控制技术实训装置

智能机电一体化综合实训考核设备

机电一体化综合实训系统

光机电气一体化实训装置

电机故障诊断与维修检测实训考核装置

机床电路实训考核设备

机床电路实训设备

机床自动化电气控制技能实训考核系统

机床电气线路(四合一)考核实训装置

机床电气控制实训装置(柜式双面、四合一、四种机床)

机电一体化综合实训室设备、机电液气一体化实训平台

数控设备维修实验室设备、数控机床电气故障检测实训台

机电技术综合实训考核装置

光机电一体化实训考核装置

物料分拣实训装置

煤矿培训自动化试验台

自动生产线实训考核装置

工业自动生产线实训装置

机电一体化综合实训考核装置

光机电一体化实训室设备、自动生产线实训室设备

柔性自动化生产线实训系统(六站)

机电气液一体化综合实训装置

智能型机床实训鉴定考核平台

机床电气综合实训考核鉴定装置

机床PLC电气控制实训考核装置

机床电气与智能实训考核装置

3D虚拟机床及机床线路实训装置

机床电气装配与调试竞赛平台

机床电气控制技术实训台

网络化智能型机床电气技能实训考核装置

机床电气线路排故实训室设备

机床智能实训考核装置

机床电气培训考核实验装置

网孔型万能机床电路实训考核鉴定装置(含PLC、变频器)

网孔型万能机床电路实训考核鉴定装置

数控车床装调维修实训考核装置

数控铣床装调与维修考核实训设备

数控车床电气控制与维修实训考核装置

多系统数控机床虚实一体训练机

机床电气实训智能考核装置(五种机床)

数控机床维修实训设备电气控制柜

数控车床电气安装与调试实训设备

车床综合维修考核装置(各种系统)

精密双轴十字滑台实训设备

数控铣床装调与维修实训台

数控车床装调与维修实训台

数控加工中心实验室设备

数控加工中心装调与维修考核实训设备

数控车床装调与维修考核实训设备(GSK980TDi)

数控铣床装调与维修考核实训设备(广数GSK-980MDi)

数控车床维修综合实训台、数控铣床维修综合实训台

电工技能实训考核柜

机床电气控制技术及工艺实训考核装置(网孔板)

数控车铣复合机床、五轴五联动数控加工中心、五轴数控加工中心虚实一体训练机

SINUMERIK 840DSL 五轴数控加工中心虚实一体训练机

多系统数控机床虚实一体训练机(三轴

多系统数控机床虚实一体训练机

数控五轴加工实训室设备

五轴数控加工中心虚实一体训练机

数控机床故障诊断与维修实训装置

步进电机交流伺服电动机驱动系统实验装置

光机电气一体化控制实训设备

光机电气一体化实训设备

光机电一体化控制实训装置

自动化生产线实训平台

智能制造人才综合实训室建设方案

自动生产线实训系统

MPS模块式柔性自动化生产线实训系统(六站)

智能型万能机床电气实训考核鉴定装置

变压器/电机控制综合实验装置

电机及变压器综合实验装置

电机性能综合测试装置

电机与变压器维修实训设备

电机变压器维修及检测实训装置

电机故障诊断与维修检测实训考核装置

电机电控配线安装装置

机床电气控制实训装置

电机装配工技能实训装置

电机检修技能实训装置

电机拆装与维修实训台

无线遥控智能型综合机床电气电路实训考核鉴定装置

机床电气控制线路排故实训平台

模拟机床电气故障排除实训装置

机电一体化生产线实训设备

电气控制及PLC变频器电机实训装置

智能型四合一机床电气控制实训台

智能型四合一机床电气控制技能实训考核鉴定装置

电动葫芦智能培训考核鉴定设备

M7130K平面磨床电气培训装置

桥式起重机电气培训装置

龙门刨床电气技能实训考核装置

交流桥式起重机实训考核设备

Z3040B摇臂钻床电气技能实训考核装置

C650-2普通车床电气技能实训考核装置

Z3050摇臂钻床电路智能实训考核台

C6140普通车床电气技能实训考核装置

M7120平面磨床电气技能实训考核装置

T68镗床电气技能实训考核装置

X62W万能铣床电气技能实训考核装置

智能机床电路实训考核装置

空间及平面机构综合实验台   更多产品>>

钳工技能实训考核平台   

工业机械传动装调实训平台   

机械传动装调综合实训平台   

机构运动创新设计方案拼装及仿真实验台   

机械基础实训室设备,机械设计实训设备,机械传动实训台

五金冲压模、拆装模具、铝合金拆装实训模具、注塑模具、冲孔模、级进模、复合模

机械基础综合实验室、机械设计实验室

机械传动性能综合测试实验台

机构创新组合设计实验台

机械运动创新方案拼装实验台

便携式机械系统传动创新组合设计实验台

单工位零件测绘实训装置

零件尺寸误差测量组合实训装置

零件形位误差测量组合实训装置

《几何体》实测绘图训练装置

《典型零件》实测绘图训练装置

《标准零件》实测绘图训练装置

《联接与配合》实测绘图训练装置

《千斤顶》实测绘图训练装置

《台虎钳》实测绘图训练装置

《齿轮泵》实测绘图训练装置

《减速器》实测绘图训练装置

测绘用装配体、齿轮泵、阀体及机件模型

减速器拆装教学模型

滚齿机教学模型

教学用插齿机实验台

轮系创新设计拼装及仿真实验台

机械传动方案优化综合测试实验台

曲柄滑块导杆凸轮机构实验台

螺栓与螺栓组联接综合实验台

创意组合机械系统装配训练综合实验平台

带传动效率测试分析实验台(基础型)

液体动压滑动轴承实验台

便携式机械系统传动创新组合设计实验台

机械设计制造实训设备,自动化专业实训装置

曲柄导杆滑块凸轮测试实验装置

齿轮传动测试分析实验装置

链条与万向节传动测试实验装置

机械系统集成及参数可视化分析实验台

机械传动创意组合测试实验台

A型机械传动方案创意组合及参数分析实验台

B型机械传动方案创意组合及参数分析实验台

自动化夹具综合实验台

车刀量角仪

齿轮范成仪

四杆机构创客系统,零件搭接类实训设备

机械元件陈列柜

电机与变压器声动同步CD解说示教陈列柜

机械基础声动同步CD解说示教陈列柜

机械运动简图的测绘及分析实验模型

机械零件20教陈列柜

减速器声动同步CD解说示教陈列柜

机械原理声动同步CD解说示教陈列柜

机械制图16型陈列柜

模具示教陈列柜

金属切削示教陈列柜

金属工艺学CD解说示教陈列柜

机械原理陈列柜

公差配合陈列柜

钳工工艺学陈列柜

金属刀具陈列柜

机床夹具设计陈列柜

机械综合陈列柜《机械原理》《机械零件》《减速器》

车工工艺学陈列柜

机械设计基础陈列柜

机械设备拆装实训台

大型量具陈列柜

《机械创新设计》示教陈列柜

气动液压示教陈列柜

机械原理实训设备,机械创新实训装置,机械设计实训设备,机械传动实训设备

机械装调技术综合实训装置

机械制图模型,机械制图教学模型

机械制图立体示教模型、测绘模型画法几何投影箱

《机械基础》(中国劳动社会保障劳动版)

机械设计拆装实验室,机械设计实验室

公差与检测技术实训室

机械系统搭接装配训练实验台

透明电动机实训教学模型、变压器教学模型

减速器拆装实验室,拆装实验用大型减速器教学模型(全铝制)

机械装调技术综合实训装置

机械运动创新设计搭接实验台

机械机构基础实验台、机构创新实验台、动平衡原理实验台、轴系结构实验箱、机构搭接测试实验台、齿轮范成

透明五金冲压模拟机、透明液压注塑机演示模型、透明注塑成型模拟机、铝合金模具拆装模型

机械装调技术综合实训装置、机械设备装调与控制技术实训装置、机械装配技能综合实训平台

机械制图模型,机械机构模型,机械零件模型,机械原理模型,部件模型

电机及电子专业实训室、电工技术实训室

电工电子综合应用创新实训装置

高级维修电工实训装置

中、高级电工技能综合实训考核平台

可编程控制器实训平台

可编程控制器实训装置

电工电子与电力拖动实训室设备

自动生产线拆装与调试实训装置

工业机器人教学实训装置

电工(中、高级)实训设备实训设备

工业控制及PLC实训平台

汽车电工电子实训设备

电气系统安装与调试实训平台

工业网络智能控制与维护实训平台

智能运动控制实训平台

自动生产线实训考核装备

电气控制实训平台

传感器应用与检测实训平台

电工电子技能综合实训考核平台

电工电子技能实训平台

变频器与伺服驱动技术实训系统

网孔型初级维修电工实训考核装置

电子创新设计与开发平台

变频调速技术实训装置

电器控制与PLC实验实训平台

电气控制系统与PLC实验平台

电力电子技术与PLC实验台

电气工程综合实验台

PLC实训台安装、调试、运行及维护技术方案

电工与电气自动化生产线装调实训平台

电气控制(PLC、变频器、触摸屏)实训装置

模电数电综合实训平台

电工电子技术实训考核装置

电工电气实训考核装置

高级维修电工实训平台

模拟电路、数字电路、单片机实训考核装置

电机拖动实训装置

电子实训创新综合实验平台

电气控制(PLC、变频器、触摸屏)实训平台

工厂供电技术实训装置

机电一体化综合实训装置

可编程控制器综合实训设备

电力拖动与PLC控制实训平台

工业传感器检测及控制实训装置

电气控制系统与PLC实验室设备

PLC控制实训操作台

电机与电气控制实验室设备

西门子PLC实验室设备

智能电工技术实验装置

PLC/传感、驱动综合应用实验台

高级技师电工及技能培训考核实训装置

电工综合实训考核装置

网孔型电工综合实训考核装置

电工实验台

PLC综合实训台

电工电子技术实训台

高级电工电子实验装置

电机教学考核装置

电工技能训练与考核平台

电气综合训练平台

西门子1512C-1PNPLC可编程控制器实训装置

电气装配实训室配备

电机故障检测实训考核装置

PLC实训台

电机电气控制实训平台

高级电工实训考核装置

智能电气控制技术操作平台

维修电工仪表照明实训考核装置

台达机电技术综合实训考核设备

PLC工业组态一体化实训平台

欧姆龙电控实训平台

三菱电控实训平台

PLC实训台 (两工位)

模数电综合实验平台

模拟与数字电路综合应用创新实训平台

计算机装调与维修技能鉴定装置

计算机组装与维护实训装置

PLC及电气控制实训装置

电工技能实训装置

电子综合应用创新实训装置

电气装配技能及工艺实训装置

计算机组装与维护实验台

传感器检测与转换技术实验实训平台

电工电子综合应用实训台

电气安装与维修实训考核装置

继电保护试验、变频调速实训装置

低压电工实训平台

气动控制实训台

电工综合实训考核设备

电力拖动实训装置

电工实验台

维修电工电气控制技能实训考核装置(含机床电路实训)

电工与PLC控制技术实训平台

楼宇消防自动化系统综合实训装置

电气维修试验设备

电工试验设备

电气故障试验设备

电气维修试验设备、电工、PLC、变频器、触摸屏实验平台

西门子1500PLC可编程控制器实训装置

工业互联网控制技术实验开发平台

工业互联网工程应用平台

模块化柔性生产线实训系统(八站)

高级维修电工技能实训装置

楼宇智能化工程实训系统

电工安装调试技能实训装置

电工电子技术创新设计综合应用实训装置

电气照明设备安装调试技能实训装置

船舶电力拖动及电气控制技能实训装置

供配电实验室设备,电气工程综合实训室设备

机床PLC电气控制实训装置

电工技能实训装置

维修电工技师·高级技师技能实训考核装置

初级维修电工及技能考核实训装置

电气自动化专业教学实训设备、电力拖动综合实训装置

电气控制实训平台、电力拖力实训平台

工程机械专业实训(验)设备

电力拖动实训室设备,电机拖动实验平台

工业网络控制实训室设备

工业自动化总控实训台

液压传动实验台

汽车实验室设备

智能型通用电工电子实验室设备

光机电一体化实训考核设备

工业电气自动化及电工技能考核实训平台

电子基本技能实训考核装置

中级电工、电拖实训考核装置

初级维修电工及技能考核实训装置

高性能中级维修电工及技能培训考核实训装置

高性能中级维修电工及技能培训考核实训装置

高性能高级维修维修电工实训考核装置

高级维修电工及技师技能实训考核装置

自动化生产线实训考核平台

透明液压与气动PLC控制综合实训装置

四工位电气安装实训台

新能源发电教学实训台

电工电子教学实训台

高性能电工电子电拖及自动化技术实训与考核装置

电工电子实训平台(双面四组型)

数字电路、模拟电路、电路基础实验台

现代电气控制系统安装与调试实训考核装置

数电模电实验室设备

传感器技术实训室设备

液压传动实训室设备

机床电气与PLC实验室设备

可编程控制器实训装置

机电与电气控制PLC实训装置

电力电子综合创新实验设备

高性能高级维修电工与PLC控制实训平台

高性能中级维修电工与PLC控制实训平台

高性能初级维修电工实训平台

电工电子基础与电拖(带直流电机)实验台

电工电子基础与电力拖动实训台

电工电子基础实验实训平台

电工基础实验实训平台

电工电子电拖PLC技术综合实训考核平台

电工电子单片机实训设备

电工与PLC可编程控制器实训台

电气装配综合实训装置

电工电子单片机实训装置

电工实训平台(单面双组型)

维修电工技师实训考核装置

人工智能实验装置

电工电子综合应用创新实训装置

电工基础实训台

工业自动化教学训练平台

高级电工电子技术实验平台

电力电子综合创新实验平台

高级电工电子综合实验实训装置

智能电工电子实验台

智能型中高级电工电子实训装置

高级电工实训考核装置

电工电子创新教育平台

电子电路技术综合实训平台

现代电工综合实训考核平台

PLC可编程控制器综合实训平台

电机拖动及控制技术实验平台

电工电子电气控制综合实训平台

交直流电机拖动实验装置

PLC电机控制实训台

电工(基础)实训考核装置

电工电子综合实验装置(三相调压)

电工综合实训考核平台、高级综合电气实训装置

PLC与电气控制实训平台

电工电子实训工作台

数电模电实验平台

电工仪表照明实训柜

PLC实验台

电工电子实验台

通用电工实验装置

电气装配实训装置(单面双组型)

电气实训平台

工业网络智能控制与维护实训台

电路电拖实验室设备

电工电子PLC技能实验装置

运动控制实训平台

工业网络智能控制与维护系统

电工技能操作实训装置

电路实验综合平台

电力电子技术实验台

PLC实训台、电气控制与PLC综合实训室设备

电工工作岛、一体化智能控制及教师示教主控台

中等职业学校电工电子类专业实训基地设备基本配置推荐标准

自动化综合实验系统

电工技能综合实训装置

电源总控台、电工电子技术综合实验装置

新型驱动综合实训室设备

可编程控制器自动化教学实训装置

电子产品装调创新实训考核装置

电工新技术应用实践训练平台

电工电路实验教学平台

电机系统教学实验实训台

电气工程综合实训设备

PLC可编程控制技术综合实训装置

机床电气实训考核装置

模拟电路、数字电路、电路基础实验台

智能型高级维修电工及技师实训考核装置

电工技能实训实验台

多功能电工实训工作台

机电技术应用专业实训基地实训设备

电工电子电拖PLC综合实训考核装置

通用电工电子实验台

电子电工与PLC实训台

高级电工电气控制技术综合实训装置

电子技术实验与实训装置

电工电子电拖综合实验平台

电工电子电拖综合应用创新实训考核装置

电机拖动及控制技术实验平台

现代电力电子技术实验装置

电工电子综合应用创新实训装置

电工电子综合实训装置(含单片机)

电工电子及自动化综合实验实训装置

电气自动化综合实训装置

电工电子技能考核实训平台

电工电子电气技术综合实验平台

通用电工、电子、电拖实训装置

初中级电工技术综合应用创新实训考核装置

智能型中高级维修电工实训装置

高级技师维修电工实训平台

互联网+虚实结合电工技术实验平台

通用电工、电子技术实训装置

网络信息实训室设备、物联信息实训教学平台

LED显示屏安装与调试实训台

LED显示屏故障检测与维修实训台

智能电子产品设计创新平台

电路分析实验台

电工电子模拟实训台

PLC电气控制综合实训平台

可编程、变频器、触摸屏、电气控制综合实训平台

高性能电工电子实验实训台

电子技术综合实训台

电工技术综合实训实验台

高级电工技术实验装置

电工电子综合实验装置

电气控制实训实验台

自动化综合实训装置

初中高级电工技能实训与考核平台(双组型)

电子技术综合实训考核装置

电路实验操作台

电工电子及电力拖动综合应用创新实训装置

智能电机拖动及控制实训装置

电工电子技术实训考核装置

电气控制实验装置

智能电工电子技术实验装置

智能型中高级电工实训装置

电工电子实验与技能实训综合装置

电工电子拖综合实训考核装置

通用电工、电子、电拖实训装置

高性能电工技术综合实训装置

高级维修电工技能培训考核装置

网孔型电工电子实训装置

电工电子基础实验教学平台

电子基本技能实训考核设备

电工电子技能实训考核装置(网孔板)

集成电工电子实验平台

电工、电子、电拖技术实验系统设备

电工综合实训考核设备

电工技术实验装置

智能电工实训考核装置

高级电工技术实训装置

电力电子试验箱

机床电气技能实训考核鉴定装置

电力电子技术及控制实验装置

智能型电工电子电拖PLC综合实验装置

电机及电力拖动实验装置

电机及电气控制实验实训装置

电机与拖动实验平台

电工电子综合实训平台

电工电子综合实验平台

数字电子应用创新实训装置

模电、电工综合应用创新实训装置

电气自动化技术考核实训装置

电子技能与电子工艺综合实训台

装表接电综合考核实训台

电子电路技术综合实训台

通用电工电子、电拖实训台

电工、模拟、数字、电力拖动综合实验装置

电工电子综合应用实训台

电工电子技术实验台

电机拖动实训装置

通用电工电子实训设备(电工电子电气数电模电五合一)

电工电子综合实验装置、煤矿电工技术实训室

网络化智能型维修电工电气控制技能实训智能考核装置

电工实操操作平台、电工技能实训考核装置

电工职业技能等级鉴定考核装置

可编程电子产品设计与制作实训考核装置

电工实验与技能实训综合装置

电工电子技术综合实验平台

电工技能实训考核设备

高频电子线路实验平台

电气控制综合实验装置

物联网射频识别综合应用实验箱

电力拖动实验台

电工综合实训考核设备

电气技术考核实训装置

电气控制技术实训装置

电气安装与维修实训考核装置

电气电子综合创新实训室设备

机电一体化组装与调试装置

电气装配实训装置

低压电工基础训练实训台(带急救)

电工技能实训与考核装置

维修电工综合实训系统(单面中、高级型)

维修电工技能实训考核装置

电机控制及仪表照明电路实训考核装置

电工实训考核装置

高级维修电工实训考核装置

电子电路实训综合操作台

电子技术智能实验平台

电子信息实验室设备、应用电子技术实验室

电工电拖综合实验装置、电工电子技术实训系统

通用电工、电子技术实验室设备

电工电子技术综合实训考核装置

电力拖动电气控制技术实验台

电力拖动实训装置

电工技术综合实验平台

电工技术综合实验装置

电气装配实训台、电工技能实训考核设备

电工中级实训台

电气控制测试台

电子技能实训装置

电工技能实训装置(单面双组型)

电工电子技能实训台

电工专用技能实训台

PLC一体化实训装置

双面四工位电子工艺实训台

电子产品设计与应用实训考核装置

智能电子综合应用实训台

电工电子技术实训装置

电工电子综合实验装置

电工电子技术实训考核装置(电子线路焊接与装调)

通用电工、电子综合实验装置

电工技术综合实验平台

电子综合实训平台

低压电工实操台

电工实验台

电子技术技能实训台

电子装配与工艺实训台

电子产品装配与调试实训台

电工电子创新实训考核装置

电子技术创新综合训练平台

电子技术实验台

电子技术综合实训室实习实训设备

电子综合试验台

电子技术应用创新实训考核装置

电子技术综合应用实训考核装置

电子设计自动化(EDA)实训平台

电工实训考核装置(柜式、双面型)

电子技术创新综合训练平台

电工综合实验平台

PLC·步进·伺服控制综合实训平台

电工电子电拖PLC单片机传感器实训考核装置

电工电子综合应用创新实训装置

网孔型电工综合实训考核平台

高级维修电工考核实训平台

中高级电工PLC变频器综合实训考核装置

高级电工电气控制综合实训平台

智能制造设备安装与调试实训考核平台

智能电工基础技术实验装置

可编程控制器、变频器、触摸屏、实验实训考核装置

PLC控制综合实训平台

电工电子技术综合实训装置

PLC、变频器控制技术综合实训装置

电工电子电拖综合应用创新实训考核装置

电工电子技能综合实训考核平台

电工电子技术综合实训考核装置

电工基础与技能实训考核装置

电工技术综合实验平台

电工技术综合实训装置

电工综合实训考核平台

电工技术实训网板

电子工艺实训台(两面4工位)

电子技术综合实训考核设备

电子技术综合实验装置

模拟与数字电路实验平台

模数电实训平台

数模电综合实训平台

电气自动化设备安装与维修实训考核平台

维修电工技能实训考核装置(网孔板、双组型)

网孔型电工技能及工艺实训考核装置(双面、四组)

智能型装接表电工实训系统

电工技能实训考核柜

直流调速(调压)实训控制柜

电气工程与自动化实训室设备

化工自动化仪表实训平台

电工·电子技术实训装置

电气控制实训装置(单面双组型)

电工电气控制实训考核装置

电气装配综合实训装置

电气装调实训装置

电气装配与调试实训平台

仪表自动化控制综合实训台

中级电工实训考核设备

高级电工实训考核设备

初中高级维修电工实训考核装置

高性能高级维修电工及技能培训考核实训装置

维修电工电气控制及仪表照明电路实训考核装置

电工电子电拖综合实验装置

现化电工综合实训考核实训台

减速机与电机实训装置

电工培训考核装置

电机拖动及运动控制综合实验台

机电技术技能实训考核装置

电机控制与调速实训装置

电机与电气控制实训台

楼宇智能化控制系统平台

电气技能实训考核装置

电工电气装配与工艺实训台

电机与电力拖动实训装置

维修电工技能实训考核装置(网孔板、单面双组型)

电工电子及电机拖动综合实训平台

电工电子电力拖动技术实验装置

电工技能实训与考核装置

电工技术实训台

电工技术实验装置

电工电子电力拖动实验与技能实训台

电工综合实训考核设备

高级电工实训台

电工电子综合实验台

中级实训考核装置(中级电工实操PLC编程步进电机模拟运行装置)

高级实训考核装置(交流伺服控制和变频闭环故障排故实训装置)

高级技师维修电工实训装置

维修电工技师、高级技师技能实训考核装置

维修电工仪表照明实训考核装置

维修电工电气控制及仪表照明电路综合实训考核装置

维修电工电气控制技能实训考核装置

电工实训操作实操台

安全用电实训考核装置

电测仪表工培训考核装置

电气装配与工艺实训台

网孔型电工电子技能及工艺实训考核装置

网孔型电力拖动(工厂电气控制)技能及工艺实训考核装置

维修电工仪表照明实训考核装置

初级工实训台、中高工实训台、高级工实训台

网孔型通用电工实训台

机床PLC电气控制实训考核装置

电气装配实训台

高级电工技术实验台

高性能电工电拖实验装置

高级电工电子电拖综合实验台

高级电工实训设备,中电工实训设备,初电工实训设备

初级电工、电拖实训考核装置(柜式)

中级电工、电拖实训考核装置(柜式)

高级电工、电拖实训考核装置(柜式)

高级维修电工及技能培训考核实训装置、中级维修电工技能培训考核装置、初级维修电工及技能考核实训装置

维修电工电气控制及仪表照明电路综合实训考核装置

仪表及照明电路实训考核装置(柜式、两面双组型)

仪表照明实训考核装置

高级维修电工实训考核装置

维修电工电气控制及仪表照明电路综合实训考核装置

SBWX-01B维修电工技师.高级技师技能实训考核装置

维修电工电气控制技能实训考核装置

高级电工实训考核鉴定装置

智能型现代电气控制实训考核装置

高性能初级维修电工及技能培训考核实训装置

高性能中级维修电工及技能培训考核实训装置

高性能高级维修电工及技能培训考核实训装置

高性能高级维修电工及技能培训考核实训装置

网络型PLC变频调速电工实训考核装置、网络型PLC高级电工综合实训考核装置

SBDG-1E电工·电子·电力拖动·PLC·变频调速综合实验装置

现代高级电工电拖实训考核设备

维修电工电气控制实训考核装置

仪表及照明单三相电机控制实训考核装置

基本电工技能实训装置

电子工艺流水线创新实训装置

电工·电子技术创新设计综合应用实训装置基本内容简介

电工电子技术创新设计综合应用实训装置

(初级)电气动力设备安装调试技能实训装置

(中级)电气动力设备安装调试技能实训装置

电气照明设备安装调试技能实训装置

高性能电工技术实验台

电工技术综合实验装置

电气安装与维修实训考核装置

自动化综合实训装置

网孔型高级维修电工实训设备,网孔型中级维修电工实训设备,网孔型初级维修电工实训设备

高级电工电拖实训考核柜、中级电工电拖实训考核考核柜、初级电工电拖实训考核考核柜

机床电气技能实训考核鉴定装置

现代电气控制系统安装与调试实训考核装置

模电、数电、电力拖动实验台

双面网孔板维修电工技能实训考核装置

电工实验台

高级电工技术实训室

维修电工电气控制技能实训考核装置

维修电工通用型实训考核实训装置

维修电工排故培训考核装置

电工基本技能综合实训设备

电工实训考核装置,电工技术实训考核装置,网孔型电工实训考核设备

现代电气控制系统安装与调试实训考核装置

网孔型电气控制实训装置

维修电工、高级电工培训、中级电工、初级电工、机电技术应用

电子产品装调与智能检测实训考核装置

维修电工技能实训考核装置(电气控制·PLC·变频器)

高级维修电工技能实训考核装置

高级维修电工变频调速PLC可编程控制实训装置

PLC编程控制实训设备、单片机实验室、计算机原理实验室设备、工业自动化实验台   更多产品>>

机电与电气控制PLC实训平台

西门子工业自动化技术综合教学及人才认证实训平台

可编程控制器(PLC)实训平台

可编程逻辑控制器智能电气控制实验平台

可编程控制器应用技术实训设备

可编程控制器自动化教学装置

PLC可编程控制器综合实训考核装置

可编程控制器实训设备

可编程控制器(PLC)实训设备

智电综合实训装置

网络化PLC综合控制实训平台

PLC智能综合实训平台

自动化实训操作台

技师工作站、西门子plc实训平台

PLC可编程电器控制综合实训装置(S7-1200)(PLC+变频+电气控制+触摸屏)

柔性智能制造实训系统

数字化工业控制实训平台

电气控制系统实验(教学)台

自动化实训装置

机电一体化自动化生产流水线实训设备

工业自动化及电气控制综合实训装置

工业自动化实训平台

机械手实训装置

PLC控制综合实训系统

工业自动化网络控制平台

自动化驱动实训系统

机电创新实训平台

PLC综合应用实训台

工业自动化综合实训平台

自动化设备综合实训台

PLC电气自动化控制实训平台

工业自动化实训考核设备

PLC及电气控制综合实训台

工业网络智能控制与维护实训平台

通用PLC与人机界面实验装置

PLC电器实训台

ABB变频器实训装置

PLC与变频技术实训装置

PLC工业网络集成控制技术实验开发平台

可编程序控制系统设计师综合实训设备

PLC可编程控制技术综合实训装置

现代电气控制系统安装与调试实训平台

机电自动化实训操作平台

智能光机电一体化综合实训考核设备

智能机电一体化实训平台

通用机电设备安装与调试实训装备

自动生产线实训考核装置

自动检测生产线实训装置

自动生产线拆装与装调实训装置

电气智能化系统安装技术实训装置

电气控制与PLC应用实训平台

智能PLC电气控制综合实训平台

机电一体化智能综合实训平台

机电一体化智能实训平台

PLC可编程控制实训装置、电气设备运行与控制实训室、PLC技术实训室设备

PLC电气控制综合实训平台

PLC电气控制综合实训平台

PLC、变频器、触摸屏综合实训平台

PLC可编程综合实训平台

电气控制综合实验系统

电气控制及工业数字化装调实训考核设备

电气综合实训装置、西门子S7-1200PLC综合实训设备

可编程控制系统工程应用实训平台

PLC综合实训台-1200

PLC综合实训平台-三菱

自动送料装车实训模型

PLC实训装置

柔性灌装自动化实训平台

PLC综合实训设备

智能制造技术应用一体化学习工作站

机电一体化实训工作站

PLC可编程与变频技术综合实训装置

工业自动化网络控制平台(双面)

工业自动化网络控制实训平台(单面)

机电一体化综合实训考核系统

自动控制理论及计算机控制技术实验装置

工业互联网工程技术实训设备

电气自动化技术考核实训装置

自动控制原理实验装置

创新模块化自动生产线实训系统

PLC设备安装调试实验实训系统

工业运动控制技术实训台

电气控制与PLC控制实验装置

电气控制与PLC综合实训装置

自动化控制技能实训台

电气控制系统综合实训设备

可编程控制器实训装置

电气自动控制电路装调维修考核装置

机电一体化与工业网络高级应用实训平台

工业控制技术教学与考核平台

模块化柔性生产线实训系统(八站)

柔性灌装自动化生产线实训系统

MES网络型模块式柔性自动化生产线实训设备

运动控制实验装置

运动控制综合实训装置

六工位PLC可编程控制器实训台

机电一体化综合创新教学平台

机电一体化综合实训考核设备

PLC可编程控制器、触摸屏、变频器 伺服控制实训平台

PLC可编程技术综合实训装置

PLC可编程控制实训设备

网络型PLC可编程控制技术综合实训装置

网络型可编程控制器综合实训装置

可编程控制器S7-1200综合实训设备

网络型PLC可编程控制器综合实训装置( PLC+ 变频 + 电气控制 + 触摸屏)

可编程控制器综合实训装置(S7-1500)

网络型PLC可编程控制器综合实训装置(PLC+变频+电气控制+触摸屏)

西门子1214C网络型可编程控制器综合实训装置

网络型PLC可编程控制技术综合实训装置(PLC、变频器、触摸屏)

网络型PLC实训装置,PLC控制+变频+触摸屏+步进+伺服

电气实训操作台(PLC+变频+电气控制+触摸屏)

PLC可编程控制器实验箱

电气与PLC可编程控制综合实训装置

PLC可编程控制器综合实训装置

可编程控制综合实训装置

PLC可编程控制器实训装置

PLC可编程控制器实训装置

自动化控制技能实训台

物联网综合应用实训系统

物联网工程综合应用实训装置

物联网智能家居实训系统

PLC实训台

PLC电气技术实训装置

电气控制PLC实训台

可编程控制器、单片机综合实训装置

机电一体化实训平台

电气控制与PLC技术一体化实训设备

可编程技术实训设备

单片机技术应用实训考核装置

PLC控制技术与组态技术实训装置

单片机应用技术实训装置、六边形学生桌

单片机模拟实训台

单片机技术实训装置

单片机应用创新实验平台

单片机控制功能实训考核装置

单片机技术应用实训考核装置

PLC可编程控制器实验装置

PLC控制及变频驱动技术教学实训装置

可编程控制器综合实训装置(PLC+变频+电气控制+触摸屏)S7-1200

PLC综合控制实训装置

电机装配与运行检测实训平台

网络型PLC可编程控制器综合实训装置(PLC+变频+电气控制+触摸屏)

网络型可编程控制器实验装置(三菱)

光机电一体化变频伺服控制综合实训平台

工业网络控制实训装置

工业机械传动装调实训平台

工业数字化网络综合实训平台

工业运动控制技术实训装置

工业运动控制技术实训台

立体仓库实物教学实训装置

单片机控制二维运动实训设备

西门子工业控制与PLC综合实训平台

PLC可编程控制器实验箱

网络型可编程控制器综合实训平台

西门子S7-1500实训设备,PLC+变频+电气控制+触摸屏

工业网络与组态实训装置

可编程电气控制综合实训装置

PLC网络综合实验平台

PLC可编程控制器综合实训装置(欧姆龙)

可编程控制器实训装置

可编程变频器及电气控制综合实训装置

工业自动化通信网络实验平台

工业自动化综合实训装置

工业控制综合实训装置

工业自动化通信网络实验台

可编程控制器自动化教学装置

变频技术实验设备

PLC控制技术综合实训装置

工学结合PLC实训台

(三菱PLC)综合实训装置

西门子PLC控制综合实训装置

PLC可编程变频调速综合实训装置

PLC单片机变频调速综合实训装置

PLC、变频器、电气控制、触摸屏实训装置

cr40plc可编程控制器综合实训装置

智能电控(PLC)实训平台

可编程(PLC)实训台

可编程控制实验装置

可编程控制实验装置及单片机综合实验台 

可编程控制器、单片机、自动控制原理综合实验台

PLC试验台、PLC实验实训考核设备

PLC变频器、伺服驱动器、步进电机驱动器实训装置

工业自动化综合实训装置(PLC+ 变频器 + 触摸屏 + 单片机)

工业自动化通讯网络实训系统

网络型PLC可编程控制实验装置

PLC可编程控制实训装置PLC+电气控制

网络型PLC可编程控制器综合实训装置 

PLC变频器触摸屏培训设备

调速PLC可编程控制综合实训装置

PLC可编程控制器实验台(三菱FX3U-48MR、变频、触摸屏)

PLC可编程控制器、单片机开发应用及电气控制综合实训装置

可编程控制器实训装置

单片机原理与应用实验平台

单片机应用综合实训平台

PLC单片机实训台

单片机控制技术实训平台

单片机可编程控制综合实验装置

单片机技术开发平台

单片机开发综合实验装置

单片机开发应用技术综合实验装置

单片机控制技术实训平台

创新型单片机和EDA设计综合实验开发装置

单片机•CPLD/FPGA开发综合实验装置

AB自动化控制实训装置

单片机应用技术实训装置

单片机控制功能实训考核装置

单片机开发系统、自动控制原理综合实验装置

网络型可编程控制器(1500 PLC)实验装置

PLC可编程控制器实验装置 (PLC+伺服+变频器+电气控制+触摸屏)

工业物联网与自动化控制实训台

工业数字化网络综合实训平台

单片机应用实训考核装置

单片机应用创新实验平台

单片机技术应用实训考核装置

网络型可编程控制器(1200 PLC)实验装置

网络型PLC可编程控制器、自动控制原理综合实验装置

PLC单片机变频器触摸屏实训台

PLC可编程控制技术综合实训装置(PLC、变频器)

网络型PLC可编程控制/微机接口及微机应用综合实验装置

网络型PLC可编程控制器综合实训装置(PLC+变频ABB+电气控制+触摸屏)

网络型PLC可编程控制器综合实训装置(PLC+变频+电气控制+触摸屏)

网络型PLC可编程控制器、变频调速、触摸屏、电气控制及单片机实验开发系统综合实验装置

网络型PLC可编程控制器、变频调速、触摸屏、电气控制及微机接口与微机应用综合实验装置

可编程控制系统实训平台

可编程控制器实训操作台

PLC可编程控制实验及单片机实验开发系统综合实验装置

PLC可编程控制系统、单片机实验开发系统、自动控制原理综合实验装置

PLC可编程控制系统、微机接口及微机应用综合实验装置

计算机装调与维修技能鉴定装置

计算机组装与维护实训装置

信号与系统·控制理论·计算机控制技术实验台

单片机实训箱、 可编程控制器实验箱

工业机器人拆装和维护平台

工业机器人教学实训装置

工业机器人应用编程实训平台

工业机器人综合应用实训平台

工业机器人多功能实训台(ABB带视觉)

工业机器人循环生产线实训装备

工业机器人基础实训设备(ABB机器人系统)

工业机器人拆装与调试实训台

机器人应用实训室设备

工业机器人多功能实训平台

工业自动化实训平台

PLC可编程控制器综合实验装置

数字化工业控制实训平台

工业电气自动化及电工技能考核实训平台

可编程工业控制实训平台

PLC综合实训台

三菱FX3G-40MR光机电一体化实训考核装置

西门子S7-1200光机电一体化实训考核装置

PLC可编程控制器综合实训装置

工业自动化综合实训装置

工业自动化综合实训装置(PLC+变频器+触摸屏+单片机)

工业全数字直流调速系统综合实训装置

变频调速系统开发平台

变频器工作原理实训设备

变频调速技术实训装置

直流调速实训装置

交直流调速实训装置

工业电气综合实训装置

工业自动化控制一体化实训室设备

工业自动化综合实训装置

工业自动化综合实训装置(PLC+变频器+触摸屏+单片机)

工业自动化综合实训装置(西门子)

工业控制创新实训平台

自动化生产线实训室设备

全数字交流调速系统实验装置

工业全数字控制实训装置

PLC训练装置

工业电气自动化及电工电子技能考核实训平台

工业运动控制技术实训台

网络型plc综合实验平台

工业控制与plc综合实训平台

工业自动化网络控制平台

网络型可编程控制器综合实训装置

可编程控制器(三菱)综合实训室设备

液压传动实验台、液压PLC实验台、气动液压PLC实验台、电梯模型、智能建筑实验室设备 更多产品>>

透明液压传动与PLC控制实训装置

液压与气动实训装置

工业液压与PLC控制实训装置

液压与气压传动综合实训装置(工业型)

液压与气动工程技术实训台

PLC控制液压传动实训装备(单面液压)

PLC控制气动实训装备(单面)

透明液压传动与PLC控制实训装置

气动PLC控制实训装置

液压与气压传动(轧钢机)综合实训装置

液压传动测试实验台

工业型液压综合实验台

PLC控制液压与气动综合实训装置

机械装配平台与液压综合实训装置

液压与气动拆装维修实训台

液压元件拆装实训装置

液压与气压传动综合实训装置

液压气动PLC控制综合实训装置

实验教学用液压实验台(可视型)

多功能气动教学实验台

液压气压传动与控制实训操作平台

透明液压传动与PLC实训装置

液压与气压PLC控制综合实训装置

透明液压与气动PLC控制综合实训装置(软件控制)

透明液压传动与PLC控制实训装置

透明液压传动与PLC控制实训装置、挖掘机实训台

透明起重机液压系统与PLC控制实训装置

液压挖机与人机界面实训装置

高级电液压实训系统

透明液压传动与触摸屏实训装置

透明液压与气压传动综合实训装置(PLC控制、液压气动二合一)

液压传动与PLC实训装置(工业型单面)

PLC控制透明液压与气动综合实训装备

工程机械专业实训(验)设备

液压装载机实训系统

液压挖掘机实训系统

气动机械手实训考核装置

双面电气动PLC控制实训装置

气动传动实验台

液压传动基础实训箱

气动实训箱

液、气、电一体化实训平台

液压与气动PLC控制综合实训装置(工业型)

气动机械手实训模型

透明液压传动与PLC实训装置

机电液气一体化实训平台

液压传动技术实验台

液压元件拆装实训台(实物)

液压传动教学装置

气动实训教学装置

双面透明液压传动技术教学装置

透明液压传动演示系统

液压传动实验台

透明液压传动与PLC实训装置

透明液压PLC控制实训装置

气动PLC控制实训装置

透明液压与气动传动综合实训装置

多功能气动教学实训台

液压与气压传动综合实训台(工业型)

工业型液压综合实验台

PLC控制液压与气动综合实训装置(工业型)

透明液压传动与PLC控制实训装置

透明气动PLC控制实训装置

液压控制综合实训装置

气动控制综合实训装置

四合一透明液压传动演示系统

液压与气压实验台

透明液压传动与PLC实训装置(铝合金框架)

透明液压挖掘机系统与PLC控制实训装置

透明液压装载机PLC控制实训台

透明液压推土机实训台

叉车液压系统实训台

挖掘机液压系统与PLC控制实训装置

透明液压PLC控制实验装置(挖掘机液压试验台)

液压挖掘机实训装置

起重机械实训装置

装载机液压系统与PLC控制实训装置

起重机液压系统与PLC控制实训装置

液压与气压传动PLC综合实训装置(工业型)

液压传动与PLC实训装置(工业型单面)

透明装载机实训台

透明挖掘机实训台

021-61482202 021-61482206